Industrial Threaded Products
Miscellaneous Fig. 202
(631)665-9300

product

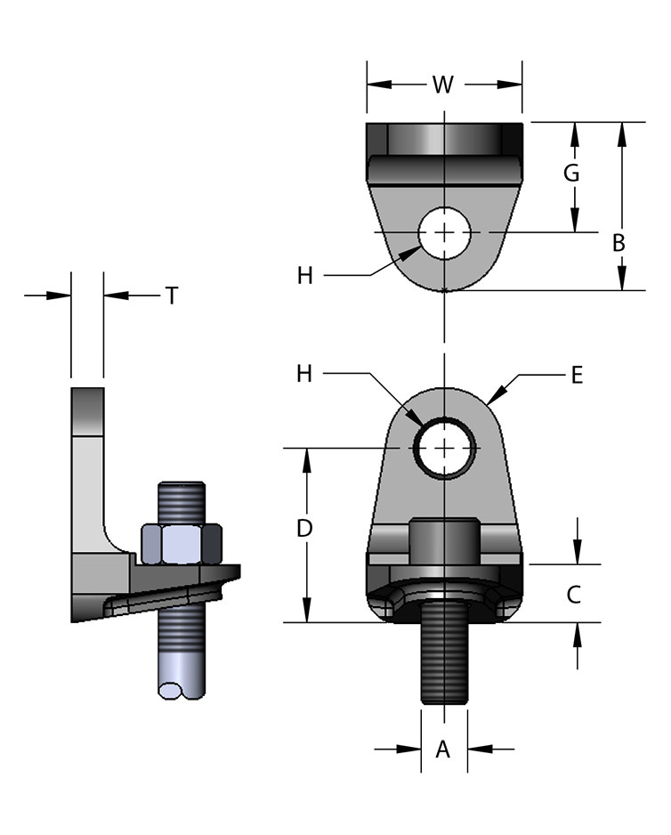
Side Beam Bracket – Fig. 202

For more product information please call (631) 665-9300
Diagram Notes

There are currently no diagram notes for this product.

Material

Cast iron.

Finish

Plain.

Service

Designed for attaching hanger rod to the side of steel or wooden beams.

Approvals

Complies with Federal Specifications WW-H-171-E (Type# 35), A-A-1192 A (Type# 35), and MSS SP-58 and SP-69 (Type# 35).

Ordering

Specify rod size and figure number.

Notes

There are no notes for this product.

  • Size A
    3/8-16
    1/2-13
  • Pipe Size
    1/2 to 2
    2 1/2 to 3 1/2
  • B
    1 5/16
    1 13/16
  • C
    9/16
    5/8
  • D
    1 1/2
    1 7/8
  • E
    1/2
    5/8
  • G
    15/16
    1 3/16
  • H
    7/16
    9/16
  • T
    1/4
    5/16
  • W
    1 5/16
    1 5/8
  • Wgt Each (lbs)
    0.27
    0.48