Industrial Threaded Products
Miscellaneous Fig. 153
(631)665-9300

product

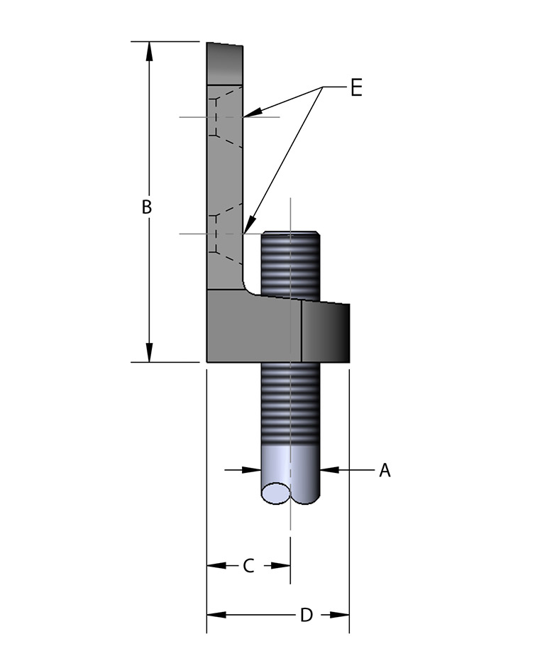
Side Beam Connector – Fig. 153

For more product information please call (631) 665-9300
Diagram Notes

There are currently no diagram notes for this product.

Material

Cast iron.

Finish

Plain or electro-galvanized.

Service

Designed for mounting to sides of wood beams using figure 59 drive screws. Bottom hole is tapped for rod.

Approvals

There are no approval options for this product.

Ordering

Specify rod size, figure number and finish.

Notes

There are no notes for this product.

  • Size A
    3/8-16
    1/2-13
  • B
    2 1/8
    2 3/4
  • C
    5/8
    3/4
  • D
    15/16
    1 3/16
  • Screw Size E
    #12
    #14
  • Wgt Each (lbs)
    0.13
    0.29
  • Max Rec Load (lbs)
    250
    480